Por favor seleccione el país de entrega adecuado

Algunos factores como el precio de los productos, su disponibilidad u otros servicios pueden verse afectados por la selección del país de entrega.
Contacto
igus® S.L.U.

Ctra. Llobatona, 6

Poligono Noi del Sucre

08840 Viladecans Barcelona

+34 93 647 39 50
+34 93 647 39 51
ES(ES)

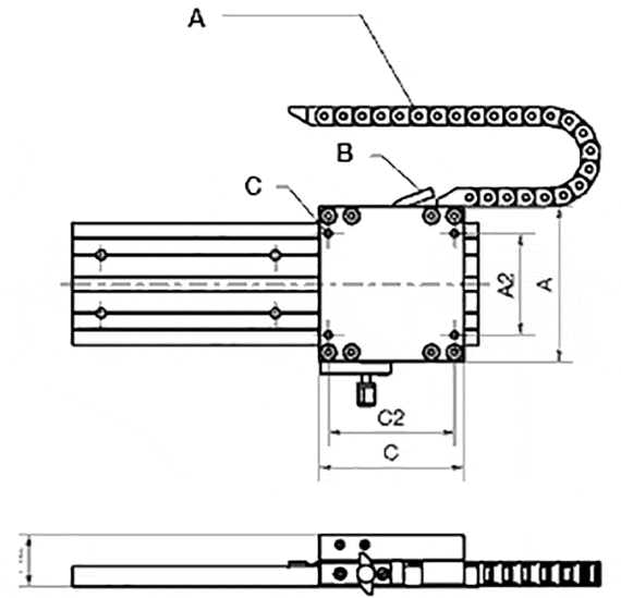
Sistema de medición listo para instalar drylin® WKMEX-10-80

A = cadena portacables 045.10.028.0, no forma parte del artículo
B = cables de señal
C = K2
Muy poco espacio de instalación ocupado por el sistema de medición drylin® WKMEX. El cabezal del sensor está integrado en el carro de solo 36 mm de altura. Hay tres opciones de sensor, dos de los cuales son compatibles con TTL Line Driver. Se recomienda la cadena portacables 045.10.028.0 de igus® para guiar el cable de señal. Para obtener números de pieza específicos de longitud, consulte:
Sistema E2 micro
Sistema easychain®

Sistemas listos para instalar, con salida externa de datos

Trabajando con 4 pulsos (p.ej. una configuración IW4 del display o del sistema control) y una temperatura ambiente de +20 °C, la precisión aportada es igual a: ±(0,025 + 0,02 · L), donde L es la longitud en metros de la carrera y repetibilidad ±0,025

Trabajando con 1 pulsos (p.ej. una configuración IW1 del display o del sistema control) y una temperatura ambiente de +20 °C, la precisión aportada es igual a: ±(0,1 + 0,02 · L), donde L es la longitud en metros de la carrera y repetibilidad ±0,025

Sensor de tamaño reducido con electrónica de evaluación integrada

Señales de salida: modo diferencial resistente al cortocircuito con señales invertidas (A A/, B, B/, Z, Z/)

Programa de entrega dispositivo de medición

Todos los tipos A A2 C C2 H2 K2 Precisión    
  [mm] [mm] [mm] [mm] [mm] [mm] [mm]    
Salida desde 10 días laborables WKMEX-10-80-2.5-00-01 107 70 100 87 36 M6 0,1 a petición Añadir al carrito de la compra
Salida desde 10 días laborables WKMEX-10-80-2.5-01-01 107 70 100 87 36 M6 0,1 a petición Añadir al carrito de la compra
Salida desde 10 días laborables WKMEX-10-80-2.5-11-01 107 70 100 87 36 M6 0,1 a petición Añadir al carrito de la compra
Más información sobre el producto seleccionado:
3D-CAD 3D-CAD
Solicitud de muestra Solicitud de muestra
PDF PDF
Consulta de precio Consulta de precio
myCatalog myCatalog
  Tipo de sensor Tensión nominal Señal de salida Longitud máx. del cable de señal
  00 10 - 30 V 10 - 30 V 30 m
  01 10 - 30 V 5 V (Driver lineal TTL) 50 m
  11 5 V 5 V (Driver lineal TTL) 10 m
especificaciones
Método de medición Incremental
Precisión repetidora ± 1 décima.
División de polos 5 mm
Carcasa del sensor Zinc colado a presión
Clase de protección IP67
Temperatura de funcionamiento -10 … +70° C
Humedad máxima 95 %, sin condensación.
Velocidad máx. 4,0 m/s
Fuente de alimentación VDC 5 VDC o 10 hasta 30 VDC
Consumo de corriente 5 VDC: máx. 200 mA
10 hasta 30 VDC: máx. 150 mA
Cuenta con electrónica interna para evaluación Cuenta con electrónica interna para evaluación
Señal de salida Driver lineal 5 V-TTL o 10 a 30 V_HTL
Pulsos de entrada A, A‘,B, B‘, Z, Z‘.
Longitud máx. del cable Longitud de cable máx. 5V/5V-TTL = 10 m
10-30V/10-30V = 30 m
10-30V/5V-TTL = 50 m

Máx. separación permitida del sistema con respecto a la cinta magnética 2,0 mm
Conexión Extremos abiertos de los cables.

Más información:


Salida desde 10 días laborables

Consultas

Estaré encantado de responder a sus preguntas personalmente

Consultas y envíos

En persona:

De lunes a viernes de 8:00 a 18:00h

Online:

24h