Por favor seleccione el país de entrega adecuado

Algunos factores como el precio de los productos, su disponibilidad u otros servicios pueden verse afectados por la selección del país de entrega.
Contacto
igus® S.L.U.

Ctra. Llobatona, 6

Poligono Noi del Sucre

08840 Viladecans Barcelona

+34 93 647 39 50
+34 93 647 39 51
ES(ES)

Carro transversal drylin® SLW

drylin® SLW-XY-1040

Propiedades especiales:

Mesa XY de bajo coste especialmente indicada para ajustes manuales

Ausencia de lubricación y resistencia a la corrosión

Longitud de carrera máxima en mesas XY de 300 mm (tamaños de instalación 1040/1080)

Longitud de carrera máxima en mesas XY de 150 mm (tamaños de instalación 0630)

Disponibles en versiones pretensadas SLWE-XY-PL (tamaños de instalación 1040/1080)

Accesorios disponibles: volante, indicador de posición, etc.

Carro transversal drylin® SLW-XY-0630 drylin® SLW-XY-0630
Carro transversal drylin® SLW-XY-1080 drylin® SLW-XY-1080

Adecuados para estos artículos:


Carro transversal SLW


Solicite un sistema completo

Configuración en solo unos pocos pasos:

1. Seleccione el tamaño de instalación
2. Selecione la longitud de carrera en mm
3. Seleccione los accesorios

Aviso:

Encontrará más información en las fichas y planos técnicos, así como en los enlaces que se muestran a continuación.

drylin® SLW - carro transversal- sistema completo

Paso 1

Seleccione el tamaño de instalación del carro transversal.

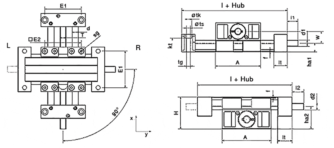
technical drawing
Tamaño de instalación:

Longitud y peso (mm)

Nº de art. A
-0,3
[mm]
H
 
[mm]
E1
±0,15
[mm]
E2
±0,15
[mm]
Base-
longitud lx
[mm]
Base-
longitud ly
[mm]
f
 
[mm]
lt
 
[mm]
tk
±0,1
[mm]
ts
 
[mm]
tg
 
kt
 
[mm]
Plazos de entrega bajo petición, ¡Consúltenos! SLW-XY-0630 54 38 40 45 94 94 1,5 20 9 7 - 6
Salida desde 3 días laborables SLW-XY-0660 85 38 71 76 125 125 1,5 20 11 6,6 - 8
Plazos de entrega bajo petición, ¡Consúltenos! SLW-XY-1040 74 48 60 60 117 117 1,5 22 11 6,8 M8 6,4
Salida desde 10 días laborables SLW-XY-1040-PL (1) 74 48 60 60 117 117 1,5 22 11 6,8 M8 6,4
Salida desde 10 días laborables SLW-XY-1080 108 48 94 94 151 151 1,5 22 11 6,8 M8 6,4
Salida desde 10 días laborables SLW-XY-1080-PL (1) 108 48 94 94 151 151 1,5 22 11 6,8 M8 6,4
Salida desde 3 días laborables SLW-XY-1660 104 72,5 84 86 154 154 1,5 25 15 9 - 8,6
Salida desde 10 días laborables SLW-XY-2080 134 82 116 116 190 190 1,5 28 15 8,6 - 8,6
Más información sobre el producto seleccionado:
3D-CAD 3D-CAD
Solicitud de muestra Solicitud de muestra
PDF PDF
Consulta de precio Consulta de precio
myCatalog myCatalog

(1) Carga previa

Tamaños [mm]

Nº de art. sg
 

d
 
[mm]
T
 
l1
 
[mm]
d1
Estándar
d1
Alternativa
l2
 
[mm]
d2
Estándar
d2
Alternativa
ha1
 
[mm]
ha2
 
[mm]
W
ha2-ha1
[mm]
Plazos de entrega bajo petición, ¡Consúltenos! SLW-XY-0630 M4 5 M8 15 M8 M8 15 M8 9,5 28,5 18,4
Salida desde 3 días laborables SLW-XY-0660 M4 5 Tr08x1,5 15 Tr08x1.5 15 - 9,5 28,5 19
Plazos de entrega bajo petición, ¡Consúltenos! SLW-XY-1040 M6 10 TR10x2 17 TR10x2 Tr10x2 17 6h9 14,5 33,5 19
Salida desde 10 días laborables SLW-XY-1040-PL (1) M6 10 TR10x2 17 TR10x2 Tr10x2 17 6h9 14,5 33,5 19
Salida desde 10 días laborables SLW-XY-1080 M6 10 TR10x2 17 TR10x2 Tr10x2 17 6h9 14,5 33,5 19
Salida desde 10 días laborables SLW-XY-1080-PL (1) M6 10 TR10x2 17 TR10x2 Tr10x2 17 6h9 14,5 33,5 19
Salida desde 3 días laborables SLW-XY-1660 M8 16 M8 20 TR14x4 8h9 20 8h9 8h9 18,5 54 35,5
Salida desde 10 días laborables SLW-XY-2080 M8 20 M8 26 12h9 26 12h9 23 59 36
Más información sobre el producto seleccionado:
3D-CAD 3D-CAD
Solicitud de muestra Solicitud de muestra
PDF PDF
Consulta de precio Consulta de precio
myCatalog myCatalog

SLW-XY-0630 con eje cuadrado
(1) Carga previa

La mesa XY se suministra con el volante del eje Y en el lado izquierdo o en el lado derecho.
Izquierda: SLW-XY-0630-AWM-L-200-300 para longitudes de carrera de 200 mm en el eje X y de 300 mm en el eje Y.
Derecha: SLW-XY-0630-AWM-L-200-300 para longitudes de carrera de 200 mm en el eje X y de 300 mm en el eje Y.

Adecuados para estos artículos:

Salida desde 1 día laborable Resumen de la gama de productos drylin® E

Componentes drylin® libres de lubricación y en continuo desarrollo para la tecnología de accionamiento.

Salida desde 1 día laborable
Salida desde 3 días laborables
Salida desde 10 días laborables
Plazos de entrega bajo petición, ¡Consúltenos!

Consultas

Estaré encantado de responder a sus preguntas personalmente

Consultas y envíos

En persona:

De lunes a viernes de 8:00 a 18:00h

Online:

24h