igus-icon-lupe
igus-icon-lupe
1 de 2
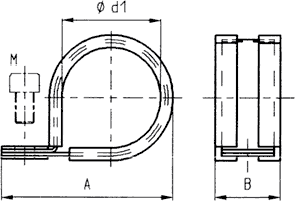
- Galvanised steel in accordance with DIN 3016
- Halogen-free elastomer profile
- Temperature range: -50°C to +105°C
igus-icon-lieferzeit-dotI-SGB-07
7
These tube clips are used for mounting and clean installation of PMA protective tubes in general mechanical engineering and plant construction They are particularly suitable for mounting statically installed cables.
